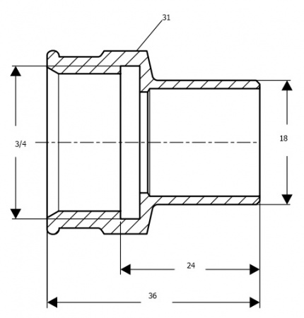
Переходник Viega 94246G ВР DN 18x3/4 купить в Москве дешево
Мы используем файлы 'cookie', чтобы обеспечить максимальное удобство пользователям.