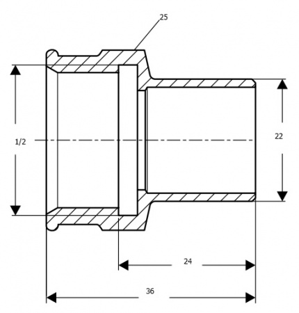
Переходник Viega 94246G ВР DN 22x1/2 купить в Москве дешево
Мы используем файлы 'cookie', чтобы обеспечить максимальное удобство пользователям.