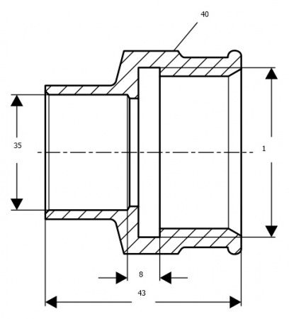
Переходник Viega 94270G ВН DN 35x1 купить в Москве дешево
Мы используем файлы 'cookie', чтобы обеспечить максимальное удобство пользователям.