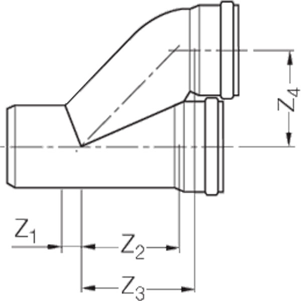
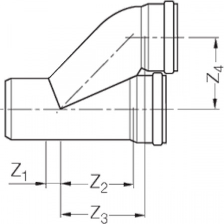
Rehau Отвод параллельный для систем внутренней канализации 110/110 купить в Москве дешево
Мы используем файлы 'cookie', чтобы обеспечить максимальное удобство пользователям.